Steering Gear & Linkage for 1993 Mercedes-Benz 400 SEL
Vehicle
1993 Mercedes-Benz 400 SEL
Change Vehicle
- Bumper & Components - Front
- Bumper & Components - Rear
- Center Console
- Center Pillar & Rocker
- Cowl
- Door
- Door & Components
- Doors
- Exterior Trim - Fender
- Exterior Trim - Front Door
- Exterior Trim - Hood
- Exterior Trim - Pillars
- Exterior Trim - Quarter Panel
- Exterior Trim - Rear Door
- Fender & Components
- Floor
- Front Door
- Glass - Front Door
- Glass - Rear Door
- Glass - Windshield
- Glass & Hardware - Back
- Glove Box
- Grille & Components
- Hardware, Fasteners & Fittings
- Heat & Sound Insulators
- Hinge Pillar
- Hood
- Hood & Components
- Inner Structure
- Instrument Panel
- Instrument Panel Components
- Interior Trim - Front Door
- Interior Trim - Pillars
- Interior Trim - Rear Body
- Interior Trim - Rear Door
- Interior Trim - Roof
- Labels
- Lid & Components
- Lock & Hardware
- Master Cylinder - Components On Dash Panel
- Outside Mirrors
- Partitions & Seals
- Quarter Panel & Components
- Quarter Window
- Radiator Support
- Rear Body
- Rear Door
- Rear Floor & Rails
- Reveal Moldings
- Roof & Components
- Sound System
- Splash Shields
- Structural Components & Rails
- Sunroof
- Tracks & Components
- Trunk
- Trunk Lid & Compartment
- Uniside
- Universal
- Wiper & Washer Components
- ABS Components
- Air Bag Components
- Air Bag System
- Alternator
- Alternator/Generator & Related Components
- Antenna & Radio
- Anti-Theft Components
- Anti-Theft System
- Battery
- Battery & Related Components
- BULBS - CHASSIS
- Distributor
- Door
- Electrical Components
- Flasher Units, Fuses, & Circuit Breakers
- Flashers
- Fog Lamps
- Front Door
- Front Seat Belts
- Glass, Windows & Related Components
- Headlamp Components
- Headlamp Washers/Wipers
- Heated Seats
- High Mounted Stop Lamp
- Horn
- Ignition Lock
- Ignition System
- Instruments & Gauges
- License Lamps
- Lighting - Exterior
- Lighting - Interior
- Mirrors
- Power Seats
- Powertrain Control
- Rear Door
- Rear Seat Belts
- Senders
- Starter
- Starter & Related Components
- Sunroof
- Switches
- Switches, Solenoids & Actuators
- Tail Lamps
- Trunk
- Voltage Regulator
- Washer Components
- Window Defroster
- Wipers
- A/C Accumulator/Receiver Drier
- A/C Clutch & Compressor
- A/C Condenser & Evaporator
- A/C Flow Restrictors
- Automatic Temperature Controls
- Blower Motor & Fan
- Condenser Fan
- Condenser, Compressor & Lines
- Controls
- Evaporator & Heater Components
- Filters
- Heater
- Hoses & Pipes
- Motors, Core, Case & Related Components
- Rear AC Lines
- Switches, Solenoids & Actuators
- Temperature Controls & Related Components
- Bushings
- Hardware, Fasteners & Fittings
- Hoses & Lines
- Lower Components
- P/S Pump & Hoses
- Power Steering Hoses, Pumps, & Related Components
- Pump
- Pump & Hoses
- Steering Column
- Steering Column & Wheel
- Steering Column Components
- Steering Gear & Linkage
- Steering Wheel
- Steering Wheel & Trim
- Steering, Gear & Related Components
- Upper Components
- Bumper & Components - Front
- Bumper & Components - Rear
- Center Console
- Center Pillar & Rocker
- Cowl
- Door
- Door & Components
- Doors
- Exterior Trim - Fender
- Exterior Trim - Front Door
- Exterior Trim - Hood
- Exterior Trim - Pillars
- Exterior Trim - Quarter Panel
- Exterior Trim - Rear Door
- Fender & Components
- Floor
- Front Door
- Glass - Front Door
- Glass - Rear Door
- Glass - Windshield
- Glass & Hardware - Back
- Glove Box
- Grille & Components
- Hardware, Fasteners & Fittings
- Heat & Sound Insulators
- Hinge Pillar
- Hood
- Hood & Components
- Inner Structure
- Instrument Panel
- Instrument Panel Components
- Interior Trim - Front Door
- Interior Trim - Pillars
- Interior Trim - Rear Body
- Interior Trim - Rear Door
- Interior Trim - Roof
- Labels
- Lid & Components
- Lock & Hardware
- Master Cylinder - Components On Dash Panel
- Outside Mirrors
- Partitions & Seals
- Quarter Panel & Components
- Quarter Window
- Radiator Support
- Rear Body
- Rear Door
- Rear Floor & Rails
- Reveal Moldings
- Roof & Components
- Sound System
- Splash Shields
- Structural Components & Rails
- Sunroof
- Tracks & Components
- Trunk
- Trunk Lid & Compartment
- Uniside
- Universal
- Wiper & Washer Components
- ABS Components
- Air Bag Components
- Air Bag System
- Alternator
- Alternator/Generator & Related Components
- Antenna & Radio
- Anti-Theft Components
- Anti-Theft System
- Battery
- Battery & Related Components
- BULBS - CHASSIS
- Distributor
- Door
- Electrical Components
- Flasher Units, Fuses, & Circuit Breakers
- Flashers
- Fog Lamps
- Front Door
- Front Seat Belts
- Glass, Windows & Related Components
- Headlamp Components
- Headlamp Washers/Wipers
- Heated Seats
- High Mounted Stop Lamp
- Horn
- Ignition Lock
- Ignition System
- Instruments & Gauges
- License Lamps
- Lighting - Exterior
- Lighting - Interior
- Mirrors
- Power Seats
- Powertrain Control
- Rear Door
- Rear Seat Belts
- Senders
- Starter
- Starter & Related Components
- Sunroof
- Switches
- Switches, Solenoids & Actuators
- Tail Lamps
- Trunk
- Voltage Regulator
- Washer Components
- Window Defroster
- Wipers
- A/C Accumulator/Receiver Drier
- A/C Clutch & Compressor
- A/C Condenser & Evaporator
- A/C Flow Restrictors
- Automatic Temperature Controls
- Blower Motor & Fan
- Condenser Fan
- Condenser, Compressor & Lines
- Controls
- Evaporator & Heater Components
- Filters
- Heater
- Hoses & Pipes
- Motors, Core, Case & Related Components
- Rear AC Lines
- Switches, Solenoids & Actuators
- Temperature Controls & Related Components
- Bushings
- Hardware, Fasteners & Fittings
- Hoses & Lines
- Lower Components
- P/S Pump & Hoses
- Power Steering Hoses, Pumps, & Related Components
- Pump
- Pump & Hoses
- Steering Column
- Steering Column & Wheel
- Steering Column Components
- Steering Gear & Linkage
- Steering Wheel
- Steering Wheel & Trim
- Steering, Gear & Related Components
- Upper Components
Browse Categories
Select category
- Bumper & Components - Front
- Bumper & Components - Rear
- Center Console
- Center Pillar & Rocker
- Cowl
- Door
- Door & Components
- Doors
- Exterior Trim - Fender
- Exterior Trim - Front Door
- Exterior Trim - Hood
- Exterior Trim - Pillars
- Exterior Trim - Quarter Panel
- Exterior Trim - Rear Door
- Fender & Components
- Floor
- Front Door
- Glass - Front Door
- Glass - Rear Door
- Glass - Windshield
- Glass & Hardware - Back
- Glove Box
- Grille & Components
- Hardware, Fasteners & Fittings
- Heat & Sound Insulators
- Hinge Pillar
- Hood
- Hood & Components
- Inner Structure
- Instrument Panel
- Instrument Panel Components
- Interior Trim - Front Door
- Interior Trim - Pillars
- Interior Trim - Rear Body
- Interior Trim - Rear Door
- Interior Trim - Roof
- Labels
- Lid & Components
- Lock & Hardware
- Master Cylinder - Components On Dash Panel
- Outside Mirrors
- Partitions & Seals
- Quarter Panel & Components
- Quarter Window
- Radiator Support
- Rear Body
- Rear Door
- Rear Floor & Rails
- Reveal Moldings
- Roof & Components
- Sound System
- Splash Shields
- Structural Components & Rails
- Sunroof
- Tracks & Components
- Trunk
- Trunk Lid & Compartment
- Uniside
- Universal
- Wiper & Washer Components
- ABS Components
- Air Bag Components
- Air Bag System
- Alternator
- Alternator/Generator & Related Components
- Antenna & Radio
- Anti-Theft Components
- Anti-Theft System
- Battery
- Battery & Related Components
- BULBS - CHASSIS
- Distributor
- Door
- Electrical Components
- Flasher Units, Fuses, & Circuit Breakers
- Flashers
- Fog Lamps
- Front Door
- Front Seat Belts
- Glass, Windows & Related Components
- Headlamp Components
- Headlamp Washers/Wipers
- Heated Seats
- High Mounted Stop Lamp
- Horn
- Ignition Lock
- Ignition System
- Instruments & Gauges
- License Lamps
- Lighting - Exterior
- Lighting - Interior
- Mirrors
- Power Seats
- Powertrain Control
- Rear Door
- Rear Seat Belts
- Senders
- Starter
- Starter & Related Components
- Sunroof
- Switches
- Switches, Solenoids & Actuators
- Tail Lamps
- Trunk
- Voltage Regulator
- Washer Components
- Window Defroster
- Wipers
- A/C Accumulator/Receiver Drier
- A/C Clutch & Compressor
- A/C Condenser & Evaporator
- A/C Flow Restrictors
- Automatic Temperature Controls
- Blower Motor & Fan
- Condenser Fan
- Condenser, Compressor & Lines
- Controls
- Evaporator & Heater Components
- Filters
- Heater
- Hoses & Pipes
- Motors, Core, Case & Related Components
- Rear AC Lines
- Switches, Solenoids & Actuators
- Temperature Controls & Related Components
- Bushings
- Hardware, Fasteners & Fittings
- Hoses & Lines
- Lower Components
- P/S Pump & Hoses
- Power Steering Hoses, Pumps, & Related Components
- Pump
- Pump & Hoses
- Steering Column
- Steering Column & Wheel
- Steering Column Components
- Steering Gear & Linkage
- Steering Wheel
- Steering Wheel & Trim
- Steering, Gear & Related Components
- Upper Components
- Bumper & Components - Front
- Bumper & Components - Rear
- Center Console
- Center Pillar & Rocker
- Cowl
- Door
- Door & Components
- Doors
- Exterior Trim - Fender
- Exterior Trim - Front Door
- Exterior Trim - Hood
- Exterior Trim - Pillars
- Exterior Trim - Quarter Panel
- Exterior Trim - Rear Door
- Fender & Components
- Floor
- Front Door
- Glass - Front Door
- Glass - Rear Door
- Glass - Windshield
- Glass & Hardware - Back
- Glove Box
- Grille & Components
- Hardware, Fasteners & Fittings
- Heat & Sound Insulators
- Hinge Pillar
- Hood
- Hood & Components
- Inner Structure
- Instrument Panel
- Instrument Panel Components
- Interior Trim - Front Door
- Interior Trim - Pillars
- Interior Trim - Rear Body
- Interior Trim - Rear Door
- Interior Trim - Roof
- Labels
- Lid & Components
- Lock & Hardware
- Master Cylinder - Components On Dash Panel
- Outside Mirrors
- Partitions & Seals
- Quarter Panel & Components
- Quarter Window
- Radiator Support
- Rear Body
- Rear Door
- Rear Floor & Rails
- Reveal Moldings
- Roof & Components
- Sound System
- Splash Shields
- Structural Components & Rails
- Sunroof
- Tracks & Components
- Trunk
- Trunk Lid & Compartment
- Uniside
- Universal
- Wiper & Washer Components
- ABS Components
- Air Bag Components
- Air Bag System
- Alternator
- Alternator/Generator & Related Components
- Antenna & Radio
- Anti-Theft Components
- Anti-Theft System
- Battery
- Battery & Related Components
- BULBS - CHASSIS
- Distributor
- Door
- Electrical Components
- Flasher Units, Fuses, & Circuit Breakers
- Flashers
- Fog Lamps
- Front Door
- Front Seat Belts
- Glass, Windows & Related Components
- Headlamp Components
- Headlamp Washers/Wipers
- Heated Seats
- High Mounted Stop Lamp
- Horn
- Ignition Lock
- Ignition System
- Instruments & Gauges
- License Lamps
- Lighting - Exterior
- Lighting - Interior
- Mirrors
- Power Seats
- Powertrain Control
- Rear Door
- Rear Seat Belts
- Senders
- Starter
- Starter & Related Components
- Sunroof
- Switches
- Switches, Solenoids & Actuators
- Tail Lamps
- Trunk
- Voltage Regulator
- Washer Components
- Window Defroster
- Wipers
- A/C Accumulator/Receiver Drier
- A/C Clutch & Compressor
- A/C Condenser & Evaporator
- A/C Flow Restrictors
- Automatic Temperature Controls
- Blower Motor & Fan
- Condenser Fan
- Condenser, Compressor & Lines
- Controls
- Evaporator & Heater Components
- Filters
- Heater
- Hoses & Pipes
- Motors, Core, Case & Related Components
- Rear AC Lines
- Switches, Solenoids & Actuators
- Temperature Controls & Related Components
- Bushings
- Hardware, Fasteners & Fittings
- Hoses & Lines
- Lower Components
- P/S Pump & Hoses
- Power Steering Hoses, Pumps, & Related Components
- Pump
- Pump & Hoses
- Steering Column
- Steering Column & Wheel
- Steering Column Components
- Steering Gear & Linkage
- Steering Wheel
- Steering Wheel & Trim
- Steering, Gear & Related Components
- Upper Components
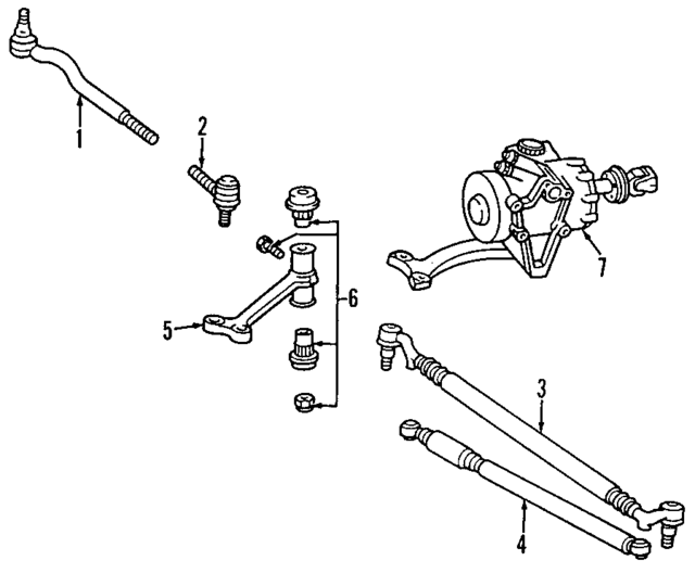
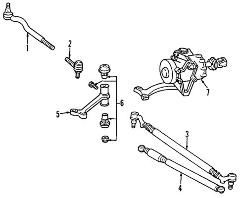
No.
Part # / Description / Price
Price
N/A
Remanufactured Hydraulic Pump 1
Mercedes-Benz
Mercedes-Benz Notes: Order By Model And Year.
Description: 500sec, 500sel, s500. With self levelling. Cl500, s500. With self leveling. S420.
N/A
Seal Kit
Mercedes-Benz
Mercedes-Benz Notes: Order By Model And Year.
Description: Cl500, s500. 500sec, 500sel, s500. 400se, 400sel, s420.
N/A
Hose
Mercedes-Benz
Mercedes-Benz Notes: Order By Year & Model.
Description: 400 & 500 series. 500sel. Pump to gear, 500. 500sec. Cl500, s500. S420.
N/A
N/A
Power Steering Pump 1
Mercedes-Benz
Mercedes-Benz Notes: Order By Model And Year.
Description: 500sec, 500sel, s500. Without self levelling. 500, zf. Cl500, s500. Without self leveling. S420.
1
2
Motor & Pump
Mercedes-Benz
Mercedes-Benz Description: 300. All models. Abs. Location-Fuel Line. In-Line Filter. Diesel. Sdl. S350 turbo.
List Price $9.75
$8.39
List Price $9.75
$8.39
3
List Price $288.00
$241.92
4
List Price $159.00
$136.74
6
7
1 This price excludes a refundable manufacturer's core charge. Add the part to your cart to see the core charge.
2 This part contains hazardous materials. Extra shipping costs apply.
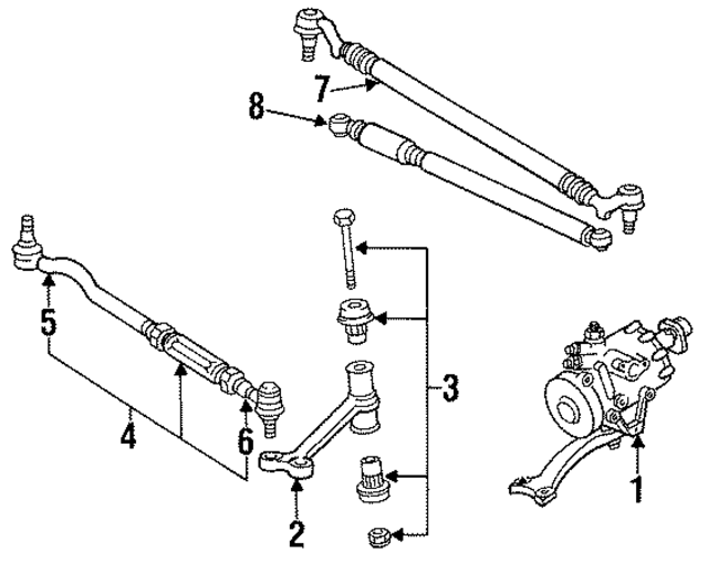
No.
Part # / Description / Price
Price
1
3
4
5
Outer Tie Rod
Mercedes-Benz
Mercedes-Benz Positions: Left
Notes: PARTS: Part included in tie rod assembly.
Description: All models. S320. Outer.
6
Inner Tie Rod
Mercedes-Benz
Mercedes-Benz Positions: Right
Notes: PARTS: Part included in tie rod assembly.
Description: All models. S320. Inner.
8
List Price $159.00
$136.74
1 This price excludes a refundable manufacturer's core charge. Add the part to your cart to see the core charge.
Related Parts
Part # / Description / Price
Price
Steering Tie Rod End Adjusting Sleeve
Mercedes-Benz
Mercedes-Benz Positions: Outer
Description: Adjusting Nut.
List Price $11.00
$9.46
List Price $11.00
$9.46
1 This price excludes a refundable manufacturer's core charge. Add the part to your cart to see the core charge.