License Lamps for 1985 Mercedes-Benz 190 D
- Back Glass
- Bumper Assembly
- Center
- Center Pillar & Rocker
- Cowl
- Door
- Door & Components
- Doors
- Exterior Trim - Fender
- Fender & Components
- Front Door
- Front Door Trim
- Glass - Front Door
- Glass - Rear Door
- Glass - Windshield
- Glove Box
- Grille
- Headliner
- Hood & Components
- Inner Components
- Inner Structure
- Instrument Panel
- Interior Trim
- Interior Trim - Pillars
- Lid & Components
- Moldings
- Outside Mirrors
- Quarter Panel & Components
- Radio
- Rear Body
- Rear Bumper
- Rear Door
- Rear Door Trim
- Roof
- Seat Components
- Structural Components & Rails
- Sunroof
- Trunk
- Trunk Lid & Compartment
- Trunk Trim
- Under Covers & Partition Panels
- ABS Components
- Alarm System
- Alternator
- Alternator/Generator & Related Components
- Antenna & Radio
- Anti-Theft Components
- Battery
- Battery & Related Components
- BULBS - CHASSIS
- Components Under Hood
- Controls
- Cruise Control System
- Diesel Controls
- Electrical Components
- Flasher Units, Fuses, & Circuit Breakers
- Flashers
- Front Door
- Front Seat Belts
- Glass, Windows & Related Components
- Headlamp Components
- Headlamp Washers/Wipers
- Horn
- Ignition Lock
- Ignition System
- Instruments & Gauges
- License Lamps
- Powertrain Control
- Rear Door
- Rear Seat Belts
- Senders
- Starter
- Starter & Related Components
- Sunroof
- Switches
- Switches, Solenoids & Actuators
- Tail Lamps
- Voltage Regulator
- Window Defroster
- Wipers
- A/C Accumulator/Receiver Drier
- A/C Clutch & Compressor
- A/C Condenser & Evaporator
- A/C Flow Restrictors
- Blower Motor & Fan
- Condenser, Compressor & Lines
- Evaporator Components
- Heater
- Heater Components
- Hoses & Pipes
- Motors, Core, Case & Related Components
- Switches, Solenoids & Actuators
- Temperature Controls & Related Components
- Back Glass
- Bumper Assembly
- Center
- Center Pillar & Rocker
- Cowl
- Door
- Door & Components
- Doors
- Exterior Trim - Fender
- Fender & Components
- Front Door
- Front Door Trim
- Glass - Front Door
- Glass - Rear Door
- Glass - Windshield
- Glove Box
- Grille
- Headliner
- Hood & Components
- Inner Components
- Inner Structure
- Instrument Panel
- Interior Trim
- Interior Trim - Pillars
- Lid & Components
- Moldings
- Outside Mirrors
- Quarter Panel & Components
- Radio
- Rear Body
- Rear Bumper
- Rear Door
- Rear Door Trim
- Roof
- Seat Components
- Structural Components & Rails
- Sunroof
- Trunk
- Trunk Lid & Compartment
- Trunk Trim
- Under Covers & Partition Panels
- ABS Components
- Alarm System
- Alternator
- Alternator/Generator & Related Components
- Antenna & Radio
- Anti-Theft Components
- Battery
- Battery & Related Components
- BULBS - CHASSIS
- Components Under Hood
- Controls
- Cruise Control System
- Diesel Controls
- Electrical Components
- Flasher Units, Fuses, & Circuit Breakers
- Flashers
- Front Door
- Front Seat Belts
- Glass, Windows & Related Components
- Headlamp Components
- Headlamp Washers/Wipers
- Horn
- Ignition Lock
- Ignition System
- Instruments & Gauges
- License Lamps
- Powertrain Control
- Rear Door
- Rear Seat Belts
- Senders
- Starter
- Starter & Related Components
- Sunroof
- Switches
- Switches, Solenoids & Actuators
- Tail Lamps
- Voltage Regulator
- Window Defroster
- Wipers
- A/C Accumulator/Receiver Drier
- A/C Clutch & Compressor
- A/C Condenser & Evaporator
- A/C Flow Restrictors
- Blower Motor & Fan
- Condenser, Compressor & Lines
- Evaporator Components
- Heater
- Heater Components
- Hoses & Pipes
- Motors, Core, Case & Related Components
- Switches, Solenoids & Actuators
- Temperature Controls & Related Components
Browse Categories
Select category
- Back Glass
- Bumper Assembly
- Center
- Center Pillar & Rocker
- Cowl
- Door
- Door & Components
- Doors
- Exterior Trim - Fender
- Fender & Components
- Front Door
- Front Door Trim
- Glass - Front Door
- Glass - Rear Door
- Glass - Windshield
- Glove Box
- Grille
- Headliner
- Hood & Components
- Inner Components
- Inner Structure
- Instrument Panel
- Interior Trim
- Interior Trim - Pillars
- Lid & Components
- Moldings
- Outside Mirrors
- Quarter Panel & Components
- Radio
- Rear Body
- Rear Bumper
- Rear Door
- Rear Door Trim
- Roof
- Seat Components
- Structural Components & Rails
- Sunroof
- Trunk
- Trunk Lid & Compartment
- Trunk Trim
- Under Covers & Partition Panels
- ABS Components
- Alarm System
- Alternator
- Alternator/Generator & Related Components
- Antenna & Radio
- Anti-Theft Components
- Battery
- Battery & Related Components
- BULBS - CHASSIS
- Components Under Hood
- Controls
- Cruise Control System
- Diesel Controls
- Electrical Components
- Flasher Units, Fuses, & Circuit Breakers
- Flashers
- Front Door
- Front Seat Belts
- Glass, Windows & Related Components
- Headlamp Components
- Headlamp Washers/Wipers
- Horn
- Ignition Lock
- Ignition System
- Instruments & Gauges
- License Lamps
- Powertrain Control
- Rear Door
- Rear Seat Belts
- Senders
- Starter
- Starter & Related Components
- Sunroof
- Switches
- Switches, Solenoids & Actuators
- Tail Lamps
- Voltage Regulator
- Window Defroster
- Wipers
- A/C Accumulator/Receiver Drier
- A/C Clutch & Compressor
- A/C Condenser & Evaporator
- A/C Flow Restrictors
- Blower Motor & Fan
- Condenser, Compressor & Lines
- Evaporator Components
- Heater
- Heater Components
- Hoses & Pipes
- Motors, Core, Case & Related Components
- Switches, Solenoids & Actuators
- Temperature Controls & Related Components
- Back Glass
- Bumper Assembly
- Center
- Center Pillar & Rocker
- Cowl
- Door
- Door & Components
- Doors
- Exterior Trim - Fender
- Fender & Components
- Front Door
- Front Door Trim
- Glass - Front Door
- Glass - Rear Door
- Glass - Windshield
- Glove Box
- Grille
- Headliner
- Hood & Components
- Inner Components
- Inner Structure
- Instrument Panel
- Interior Trim
- Interior Trim - Pillars
- Lid & Components
- Moldings
- Outside Mirrors
- Quarter Panel & Components
- Radio
- Rear Body
- Rear Bumper
- Rear Door
- Rear Door Trim
- Roof
- Seat Components
- Structural Components & Rails
- Sunroof
- Trunk
- Trunk Lid & Compartment
- Trunk Trim
- Under Covers & Partition Panels
- ABS Components
- Alarm System
- Alternator
- Alternator/Generator & Related Components
- Antenna & Radio
- Anti-Theft Components
- Battery
- Battery & Related Components
- BULBS - CHASSIS
- Components Under Hood
- Controls
- Cruise Control System
- Diesel Controls
- Electrical Components
- Flasher Units, Fuses, & Circuit Breakers
- Flashers
- Front Door
- Front Seat Belts
- Glass, Windows & Related Components
- Headlamp Components
- Headlamp Washers/Wipers
- Horn
- Ignition Lock
- Ignition System
- Instruments & Gauges
- License Lamps
- Powertrain Control
- Rear Door
- Rear Seat Belts
- Senders
- Starter
- Starter & Related Components
- Sunroof
- Switches
- Switches, Solenoids & Actuators
- Tail Lamps
- Voltage Regulator
- Window Defroster
- Wipers
- A/C Accumulator/Receiver Drier
- A/C Clutch & Compressor
- A/C Condenser & Evaporator
- A/C Flow Restrictors
- Blower Motor & Fan
- Condenser, Compressor & Lines
- Evaporator Components
- Heater
- Heater Components
- Hoses & Pipes
- Motors, Core, Case & Related Components
- Switches, Solenoids & Actuators
- Temperature Controls & Related Components
License Lamps for 1985 Mercedes-Benz 190 D
No.
Part # / Description / Price
Price
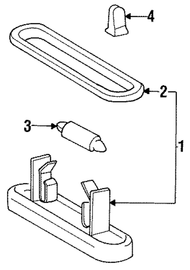
2
License Lamp
Mercedes-Benz
Mercedes-Benz Notes: PARTS: Part is included in license lamp assembly.
List Price $116.00
$99.76
List Price $116.00
$99.76
4
Tail Lamp Assembly Nut
Mercedes-Benz
Mercedes-Benz Description: 1992-94 attaching components. Driver side, passenger van, lower trim. Passenger side, passenger van, lower trim. Coupe,.
List Price $7.75
$6.67
List Price $7.75
$6.67